Страница 1 из 1
Установка ЭСП и электрозеркал

Добавлено:
03.03.04 20:42
Гость
Привет!
Договорился вот о покупке ЭСП и зеркал. Есть какие подводные камни при установке? Где искать неподключенные "фишки"?
Scorpio 90 DOHC карб (люк+гур и все)
Ерш
Re: Установка ЭСП и электрозеркал

Добавлено:
03.03.04 23:13
Гость
Ersh пишет:Привет!
Договорился вот о покупке ЭСП и зеркал. Есть какие подводные камни при установке? Где искать неподключенные "фишки"?
Scorpio 90 DOHC карб (люк+гур и все)
Ерш
да вроде нет камней особо никаких
0

Добавлено:
04.03.04 21:04
def
главное чтобы проводка была!! а то мы на ЦЛ купили эл. окна а проводки не было, слава богу на свалках их пруд пруди

1пол дня, и чувак радовался что у него уже ГЛ

0

Добавлено:
05.03.04 00:24
Гость
def пишет:главное чтобы проводка была!! а то мы на ЦЛ купили эл. окна а проводки не было, слава богу на свалках их пруд пруди

1пол дня, и чувак радовался что у него уже ГЛ

везет же, я сам проводку делал...правда у меня теперь окна закрываются сами при постановке на сигналку

0

Добавлено:
07.03.04 10:20
Shef
[/quote]везет же, я сам проводку делал...правда у меня теперь окна закрываются сами при постановке на сигналку

[/quote]
то Souleyman. А тогда, может подскажешь как сделать так чтобы окна закрывались при постановке на сигнализацию? Уж довольно прикольная фичча.
0

Добавлено:
07.03.04 12:17
def
да

а то у меня сигнализация *******, и там блок стоит 40 баксов, что бы окна сами закрывались

а то я один раз ушел гулять в городе а окно отркрыто

и это в Старом Таллинне, где одни карманники

0

Добавлено:
08.03.04 04:37
Гость
а у нас блок на 4-ре двери стоит 25 баков, его-то я и поставил

Проводка - какая, в дверях или общая?

Добавлено:
09.03.04 17:18
Гость
Дверную то взял... но там вроде еще реле какое-то должно быть, и питание какое-то на двери идти должно, хотя по схеме вроде все очень просто...
0

Добавлено:
09.03.04 20:34
def
а точно реле, еще

Re: Проводка - какая, в дверях или общая?

Добавлено:
10.03.04 05:39
Гость
Ersh пишет:Дверную то взял... но там вроде еще реле какое-то должно быть, и питание какое-то на двери идти должно, хотя по схеме вроде все очень просто...
в том, что брал я, релюхи уже встроены в блок, их там 4-ре штуки соответственно
Re: Проводка - какая, в дверях или общая?

Добавлено:
13.03.04 12:18
Гость
Ersh пишет:Дверную то взял... но там вроде еще реле какое-то должно быть, и питание какое-то на двери идти должно, хотя по схеме вроде все очень просто...
в блоке предохранителей стоят два маленьких реле в алюминиевом кожухе (точнее не реле, а термовыключатель). находятся в крайнем ряду, (по умной книге номера 23 и 24) и само исполнительное реле 5-ти контактное в гнезде номер III.
Всем спасибо!

Добавлено:
16.03.04 16:39
Гость
Всем спасибо!

Добавлено:
19.11.07 13:33
Dealer
Подскажите, я купил дверь с ЭСП переднюю (моя разбита), но хозяину надо вернуть ЭСП назад, а установить свой ручной. Может оставить его, доплатить и все? На двери 2 больших разъема, как подключить не знаю, не подскажете? Либо лучше снять его и отдать, а поставить свой назад?

Добавлено:
19.11.07 14:05
Vova39
Dealer
На двери 2 больших разъема, как подключить не знаю, не подскажете? Либо лучше снять его и отдать, а поставить свой назад
Один там разъем должен быть. Приконнекчивается к ответной части в стойке.
хозяину надо вернуть ЭСП назад, а установить свой ручной. Может оставить его, доплатить и все
Тогда надо и со второй двери покупать ЭСП, чтобы было по-нормальному, если есть мысли электрифицировать двери, то я бы доплатил и оставил дверь с ЭСП себе (правда тебе еще нужна дверная карта с кнопками).

Добавлено:
19.11.07 15:36
Dealer
А что такое дверная карта? У меня салон ЦЛ, там ручка прямая, а не изогнутая, может не подойдет?
А разъем, которым дверь к стойке подкл, он один, но обшивка на двери снята, и на проводай посередине двери висят 2 разъема - от зеркала наверное, и еще что-то. Как к ним подключиться?

Добавлено:
19.11.07 15:44
Garfield
Dealer
Дверная карта- это обшивка двери. Вот тока не помню- есть ли на ЦЛ проводка под ЭСП? Под электрозеркала точно нет, а вот под ЭСП....

Добавлено:
19.11.07 15:51
Dealer
Может, кто-то знает? Я поискал по форуму, не нашел такой информации.
Но в любом случае, дверь у меня получается от ГЛ, а карта от ЦЛ. И 2 разьема непонятных на ней. Что делать?

Добавлено:
19.11.07 15:58
Garfield
Dealer
Ну что могу посоветовать- ставь дверь, ффтыкай разъём от двери в разъём в передней стойке (здоровенный такой). Включай зажигание и проверяй стеклоподъёмник. Если не работает- проверь, стоит ли у тебя предохранитель ЭСП в блоке. Если он есть, то фпирёт- квырять проводку, запитывать ЭСП. Вспомнил я насчёт проводки- для передних ЭСП у тебя должна быть проводка, под электрозеркала точно нет. Ставили мы как-то на ЦЛ передние подъёмники- просто сам механизм воткнули и подключили к штатным разъёмам. И всё. Хотя хз- мож это не на всех ЦЛках так.

Добавлено:
19.11.07 16:34
strussa
вобщем не знаю как на ваших на на моем проводка проводке разница.
для начала сосчитай сколько у тебя подходит проводов к двери...потому как на моем хоть и стояли стеклоподьемники , но проводка была 10, а другая 16 проводная. Твоих 2 разьема могут быть для динамика и замка двери с концевиком. Вобщем сначала выясни что подводится к двери, а затем решай силен ты в проводках или не парясь ставь простые стеклоподьемники, тем паче крепится они должны на заклепках

Добавлено:
19.11.07 16:49
Dealer
Не то чтоб силен очень, но трип ставил, коды диагностики снимал.
Постараюсь найти провода, только зима несколько мешает.

Добавлено:
19.11.07 18:15
димон1
Все прочитать не смог, но тоже ставил ЭСП самостоятельно и менял косу в двери (не считая кулибничества на стойке), так в той косе кроме ЭСП были концы на подсветку вниз дверей и на красную в торцах, тоже поставил два фонарика в каждую. На зеркала проводов не было.

Добавлено:
19.11.07 20:48
Dealer
Ну а как найти в той косе, че куда подключать? Куда подключить кнопки стеклоподъемника?

Добавлено:
19.11.07 21:24
Гость
Я еще не крутил проводку, расскажите пожалуйста, а каким макаром провести из салона проводку дополнительную (на зеркала и стеклоподъемники) из салона в дверь. Сложно ли их протянуть через ту
хрень (выглядит как трубочка резиновая и содержит в себе всю проводку от кузова к двери).
Просто на моем CL отродясь не было ничаво электрического в дверях, окромя динамиков.


Добавлено:
19.11.07 21:33
Рем
trophim
через трубочку тянуть не надо. Купи дверную проводку от версии с подъемниками, там уже будет нужная трубочка. А вот по салону до разъема на стойки тянуть - придется потрахаться.

Добавлено:
19.11.07 21:49
Dealer
Вот если б подробнее порассказали.... Были бы премного благодарны, че куда тянуть. Куда кнопочку на Цл-ке поставить, куда проводки тянуть.

Добавлено:
19.11.07 23:28
Miha
Dealer
Ну блин ты задал вопрос, нужно сначала видеть что за проводка есть... в зависимости от этого..

Добавлено:
19.11.07 23:46
Dealer
да какая есть такая и есть, мне главное принцип, я найду, если что проведу. Хотя наверное придется отдать этот ЭСП продавцу двери все же, зимой там неналазишься, тем более, что полмашины разобрано, надо другое собирать. Да, зимой нехорошо )

Добавлено:
19.11.07 23:52
Miha
У серёги (Зомби113) спроси, он в разбитого имплантиовал за день.
Если просто тупо по кнопочке на дверь (без деблирования кнопок) то той проводке что в двери вполне достаточно.
Re: Установка ЭСП и электрозеркал

Добавлено:
06.06.09 00:05
CHEH
кто поможет? спёрливетровики с переднего стекла, и теперь не работает подъёмник, в чём причина может быть?
Re: Установка ЭСП и электрозеркал

Добавлено:
09.09.09 19:02
ART&rey
Предлагают косы за 25 зеленых.
передние судя по всему полные:


А вот задние, помоему без ЭСП...


Вопрос. К косам задних дверей (что на фото) можно подключить ЭСП или тянуть отдельно?
Re: Установка ЭСП и электрозеркал

Добавлено:
10.09.09 00:25
Miha
Проще найти проводку. Если нет, то просто к +12 вольт подключить от лампушкого разъёма.
http://radikal.ru/F/i063.radikal.ru/090 ... 4.jpg.htmlэт вроде жгут с подъёмником.
Re: Установка ЭСП и электрозеркал

Добавлено:
10.09.09 11:21
ART&rey
2Miha и не только... )
Если мне не изменяет память то разъемы на ЭСП с синим и зеленым проводами.
(см. выше - я заменил. На фото обведены красным)
А вот на задних их четыре на разаъеме.
Это они? Или что за?
Re: Установка ЭСП и электрозеркал

Добавлено:
10.09.09 18:11
Miha
Если мне не изменяет склероз, то хвост с разъёмом к моторчику и на кнопку подключается какраз к чёрному разъёму торчащему сразу после резинки.
Re: Установка ЭСП и электрозеркал

Добавлено:
10.09.09 19:21
ART&rey
Miha
Глянь на фото. Проводка задних дверей (что на фото) с ЭСП или нет...
И если можешь, обясни: куда стока разъемов на передней и задней?
и почему на одной передней косе 2 микрухи, а на второй 1?
Re: Установка ЭСП и электрозеркал

Добавлено:
11.09.09 11:00
ART&rey
По ветке:
http://www.souleyman.ru/forum/viewtopic.php?f=1&t=16552&start=0&hilit=%D0%B4%D0%B2%D0%B5%D1%80%D0%B8косы дверные от переходного имеют другие разъемы в дверях.
А остальные разъемы (ЭСП, зеркала, микрухи, ЦЗ и т.д.) подойдут?
Re: Установка ЭСП и электрозеркал

Добавлено:
11.09.09 13:33
ART&rey
Мужики, кто разбирал Gia комплектации? Проводка что на фото полная или чего то не хватает? Ну в общем выше вопросы. Просто надо ответ челу дать!!!
Re: Установка ЭСП и электрозеркал

Добавлено:
11.09.09 13:46
Miha
1е фото проводка водительской двери допереходная.
2е пасвжирская дверь (обведены разъёмы на моторчик.
3е и 4е задние. Белый разъём ЦЗ. с вопросом разъём на ЭСП. Не хватает хвоста к кнопке и моторчику. Там на хвосте и разъём на кнопку а от него уже на моторчик
Re: Установка ЭСП и электрозеркал

Добавлено:
11.09.09 16:16
ART&rey
Miha
Т.е. передняя полная комплектация,
а задняя найти кусок от разема ЭСП на кнопку и моторчик.
Я правильно понял?
Re: Установка ЭСП и электрозеркал

Добавлено:
11.09.09 21:38
Miha
Вроде да. Вскрывать двери чтоб посмотреть на 100% - лень.
Re: Установка ЭСП и электрозеркал

Добавлено:
13.09.09 05:18
lesha_gl
ART&rey пишет:Т.е. передняя полная комплектация,
а задняя найти кусок от разема ЭСП на кнопку и моторчик.
Я правильно понял?
Да
Re: Установка ЭСП и электрозеркал

Добавлено:
19.03.14 12:30
gmiro
Подскажите, задние электростеклоподьемники одинаковые на всех скорпах? Подойдут ли с первого на переходного?
Re: Установка ЭСП и электрозеркал

Добавлено:
11.03.17 17:42
ikenny
Купил эсп в передние двери, взял вместе с дверными косами, но рестайловый это был скорп или нет, трудно сказать т.к. салона уже небыло и с машины поснимали крылья/бампера и т.д.
Ясно только то, что это был хэтчбэк. Рейстайловых хэтчей помоему небыло, но все же. Тут кто-то говорил, что на рестайловом другие косы. В чем они другие по отношению к допереходному?
Я подключил просто косу вместо своей, подрубил к косе стеклоподъемник но он у меня не заработал. На контакты глянуть не успел, у нас дождь льет, но получается, что в фишке которая в стойке недостаток проводов. Если у меня коса всеже переходная, кроме как на стеклоподъемниках это еще как-то скажется? Центральный замок к примеру тоже работать перестанет?
Слышал, что должен быть какой-то контроллер для эсп. Он критично нужен? Я просто несовсем понял что за контроллер. Смотрю я на косу и вижу, что 2 провода, которые идут к исполнительному мотору заходят так же и в кнопку, по крайней мене на косе из водительской двери. Кнопка разве напрямую работает с моторчиком меняя полярность(подымать/опускать стекло)? Не должно быть какого-либо реле? Я когда ставил электропривод люка, там кнопка такая же, но на самом моторедукторе уже закреплено реле и как я понимаю, кнопка работает с этой реле а не с мотором напрямую, сгорит же...В общем, подскажите как правильно устанавливаются эсп в передние двери(помимо физической установки железа, тут ясно все) по проводке. Как кнопка управляет? Напрямую на мотор или через реле или там действительно какой-то контроллер нужен?
Задние эсп не планирую ставить, будет как в шкодах, спереди "жируем" а сзади "весла"

Хотя черт знает, скорп мой для меня уже не "повозка", эт уже любимая игрушка, может и передумаю
Re: Установка ЭСП и электрозеркал

Добавлено:
11.03.17 19:01
Maxsh
Рестайловые хетчи были. Раз у тебя не было передних электростеклоподъёмников, то у тебя комплектация CL. И насколько я знаю, это наверное значит, что тупо подключить к разъёмам не получится. Это в случае GL всё проще - бери, да просто подключай - мне как-то так рассказывали, когда я своего допереходного CL нафаршмачивал. И это касается всего остального оборудования. В нюансах, могу ошибиться, ибо в большинстве случаев я пригонял тачку спецам и забирал потом готовое с последующими разъяснениями о том, "почему так долго, тут же ш вроде, только подключить". Больше по существу ничего не могу сказать

Re: Установка ЭСП и электрозеркал

Добавлено:
12.03.17 00:17
stress
ikenny
Реле в блоке в штатном исполнении присутствуют.
Re: Установка ЭСП и электрозеркал

Добавлено:
12.03.17 10:13
ikenny
В блоке, что под капотом? Где предохранители, реле дворников и т.д.?
Re: Установка ЭСП и электрозеркал

Добавлено:
12.03.17 16:31
Костя Луганск
ikenny пишет:Слышал, что должен быть какой-то контроллер для эсп. Он критично нужен? Я просто несовсем понял что за контроллер. Смотрю я на косу и вижу, что 2 провода, которые идут к исполнительному мотору заходят так же и в кнопку, по крайней мене на косе из водительской двери.
В скорпе всё просто - реле одно(общее на с/п, эл.кресла и люк), - просто подаёт питание на всё это хозяйство при включенном зажигании или открытой вод. двери. В блоке предов, по памяти - ближнее правое(зелёное 40А). Контроллер, возможно, имеется ввиду - контроллер дотяжки.
ikenny пишет:Кнопка разве напрямую работает с моторчиком меняя полярность(подымать/опускать стекло)? Не должно быть какого-либо реле?
Именно так.

- эсп пд.JPG (31.98 КБ) Просмотров: 16469
По идее - нужно поставить нужное реле в блок предов и ЭСП заработают. С проводкой зеркал сложнее - не во всех СL есть - приходится три провода тянуть от левой двери к правой.
Re: Установка ЭСП и электрозеркал

Добавлено:
12.03.17 20:11
ikenny
Не, электрозеркала и электросиденья я ставить не буду, сидуха и зеркала гастраиваются один раз, смысл мне в их приводе, если я их не трогаю вообще. Мне только эсп нужны
Re: Установка ЭСП и электрозеркал

Добавлено:
12.03.17 23:34
Костя Луганск
ikenny пишет:электрозеркала и электросиденья я ставить не буду
Это я так, к слову - для тех, кто заморочится.
Re: Установка ЭСП и электрозеркал

Добавлено:
13.03.17 14:34
Incredible
ikenny пишет:и зеркала гастраиваются один раз, смысл мне в их приводе
То же так думал, пока электрозеркала не поставил. И стало намного удобнее при тех же парковках, при небходмости зеркало взял да опустил пониже, или когда чего тяжелое везешь, тоже одним движением руки легко подкорректировал положение зеркала.

После этого оценил удобство электрозеркал.
Re: Установка ЭСП и электрозеркал

Добавлено:
13.03.17 16:08
ikenny
Реле стеклоподъемников идет под номером III и предохранитель номер 23.
Есть номерок релюхи эсп? У меня просто в гнезде номер III нет релюхи.
Есть во II и XI гнездах одинаковые релюхи
83BG13A025CA

XI-реле зажигания при работающем двигателе
II-реле обогрева заднего стекла
Не пойму почему они одинаковые
Я смотрю на гнездо номер III которое под реле стеклоподъемников, колличество контактов тоже, но вот про распиновку неуверен, думаю попробывать реле от подогрева зад. стекла переставить в гнездо III
Просто я смотрю и на разъем 23 под предохранитель стеклоподъемников-контакты есть, смотрю на посадочное место номер III реле стеклоподъемников, там тоже контакты есть.
Кажется мне, что проводка у меня уже есть, просто не хватает реле и предохранителя.
Я когда дворники с регулировкой паузы ставил, ничего нового не протягивал, просто поменял рычажок на рычажок с переключателем интервалов и поменял реле с 4-х на 5-ти контактное и все заработало.
Вот тешу себя надеждами, что с эсп будет также и не надо будет колхозить проводку...
Но вот понятия не имею как внешне выглядет реле стеклоподъемников. Хотелось бы узнать, что искать

Я просто почему пристал к этой зеленой релешке подогрева зад. стекла. Видел на просторах инета фотку блока реле и предохранителей со скорпа с стеклоподъемниками, у него реле в гнезде номер III стоит вроде как такая же релюха, но фотка не особо качественная, видно начало 83B и последние 4 символа(25СА), остальное вспышкой засвечено...
Re: Установка ЭСП и электрозеркал

Добавлено:
13.03.17 16:25
Crick
Если хочешь - завтра зафоткаю свой блок предов. (у меня с передними ЭСП)
Сразу скажу - я не шарю какое реле за что отвечает - просто зафоткаю как можно детально
Re: Установка ЭСП и электрозеркал

Добавлено:
13.03.17 16:36
ikenny
Если хочешь - завтра зафоткаю свой блок предов. (у меня с передними ЭСП)
Сразу скажу - я не шарю какое реле за что отвечает - просто зафоткаю как можно детально
Давай, думаю поможет
Re: Установка ЭСП и электрозеркал

Добавлено:
13.03.17 19:50
Костя Луганск
ikenny пишет: думаю попробывать реле от подогрева зад. стекла переставить в гнездо III
ikenny пишет:83BG13A025CA
Реле подойдёт. Кстати, в версии без электрозеркал штатно вместо реле обогрева зад. стекла стоит перемычка.
ikenny пишет:Кажется мне, что проводка у меня уже есть, просто не хватает реле и предохранителя.
Я об этом выше писал:
Костя Луганск пишет:По идее - нужно поставить нужное реле в блок предов и ЭСП заработают.

- блок предов.JPG (37.97 КБ) Просмотров: 16519
По фото нашёл свой старый пост:
Опубликовано: September 26, 2011
Живёт в блоке предов под капотом, в правом ближнем углу, если стоять у левого крыла. Обычное 40А реле, зелёного цвета(указал зелёной стрелкой)
Проводка под него есть даже в ЦЛ версии.
Re: Установка ЭСП и электрозеркал

Добавлено:
14.03.17 10:25
Incredible
Костя Луганск пишет:Кстати, в версии без электрозеркал штатно вместо реле обогрева зад. стекла стоит перемычка.
Разве наличие перемычки зависит от типа зеркал?
А не от того как реализован обогрев заднего стекла, с таймером или без таймера. У меня без таймера, с перемычкой, и сама кнопка коммутирует включение обогрева напрямую, и при этом есть штатная проводка под обогрев зеркал. Вместо перемычки реле не поставить, в блоке не хватает контактов под реле.
Re: Установка ЭСП и электрозеркал

Добавлено:
14.03.17 18:37
Crick
Наверно не актуально, но обещал..
Все три зелёных реле одинаковых
Re: Установка ЭСП и электрозеркал

Добавлено:
15.03.17 15:19
Костя Луганск
Incredible пишет:Разве наличие перемычки зависит от типа зеркал?
Да, на 85г. без электрозеркал - коммутация кнопкой, с электрозеркалами - через реле. У меня было именно так - стояла перемычка. Электрозеркала и реле ставил сам. Реле обычное, без таймера.
Re: Установка ЭСП и электрозеркал

Добавлено:
15.03.17 15:34
Incredible
Костя Луганск пишет:Да, на 85г. без электрозеркал - коммутация кнопкой, с электрозеркалами - через реле.
Но, без доработки проводки, вместо перемычки реле просто так не поставить и кнопки не заменить, т.к. провода надо добавлять.
Re: Установка ЭСП и электрозеркал

Добавлено:
15.03.17 20:52
Костя Луганск
Incredible пишет:без доработки проводки, вместо перемычки реле просто так не поставить и кнопки не заменить, т.к. провода надо добавлять.
Ничего не дорабатывал и не добавлял, просто поставил реле вместо перемычки. Кнопку не менял - стояла изначально с фиксацией.
Re: Установка ЭСП и электрозеркал

Добавлено:
15.03.17 21:54
ikenny
Не получилось. Переставил релюху, поставил предохранитель на 30А в 23-ий разъем, отключил косу пассажирской двери, подключил донорскую с кнопкой. Поставил вольтметр к фишке мотора ЭСП, нажал кнопку-тишина. Нажал в другую сторону-тишина. Все это при включенном зажигании.
Посмотрел на "мамы" дверных кос, в моих гораздо меньше контактов. У кого-то есть распиновка контактов дверной косы?
Насколько я понимаю, для того, чтоб заработал ЭСП мне нужно добавить только 2 провода к "папе" в стойке, массу и 12В с реле номер 3?
Левая-донорская, с кнопкой ЭСП, пассажирская передняя, правая-моя родная, без ЭСП, дверь таже. На разнице 5 контактов...
Да, и кто-то знает что за стандарт "игольчатых" контактов в стойке у "папы" дверной косы? Хочется сделать по нормальному, чтоб можно было так же простым откручиванием отключать/подключать жгут к стойке.

Re: Установка ЭСП и электрозеркал

Добавлено:
15.03.17 22:14
Костя Луганск
ikenny пишет:Поставил вольтметр к фишке мотора
Правильнее на входе кнопки проверять напряжение.
ikenny пишет:есть распиновка контактов дверной косы?
Помню, зарисовывал. В компе не найду. Гляну в гараже рукописи))
ikenny пишет:чтоб заработал ЭСП мне нужно добавить только 2 провода к "папе" в стойке, массу и 12В с реле номер 3?
Нужно подать на кнопку "+" и "-". Самый простой способ - с ЦЗ, но не самый правильный.
ikenny пишет:что за стандарт "игольчатых" контактов в стойке у "папы" дверной косы?
Контакты такие же, как и в круглых трёхконтактных разъёмах.
Re: Установка ЭСП и электрозеркал

Добавлено:
15.03.17 22:33
ikenny
Кстати, да, потом еще кинул шуп вольтметра на массу вторым протыкал все клемы кнопки-там тоже ничего.
Есть на косе белая фишка, похожа на фишку дпдз, там в двух пинах было 12В, но на кнопке ЭСП пусто.
Re: Установка ЭСП и электрозеркал

Добавлено:
15.03.17 23:10
ikenny
Я тут еще раз попробывал разобраться в схемах, меня вот что насторожило
Это вариант CL

А это Ghia

Цвета проводов мотора ЭСП, для CL они Зелено-желтый и Голубой-желтый, а для Ghia Зеленый и голубой.
У меня на донорской косе провода на фишке мотора ЭСП зеленый и голубой. Косы получается от Ghia?
Возможно-ли при моей донорской косе подключать по схеме для CL, она вроде как гораздо проще выглядет, чем для Ghia
Re: Установка ЭСП и электрозеркал

Добавлено:
16.03.17 13:43
ikenny
Я тут пока пытаюсь с недостатком проводов разобраться в стойках, склеил схему для ESP CL.
Пытаюсь понять что куда, пока что-то не получается, но суть не в этом.
Может кому пригодится склейка, удобнее чем листать туда-сюда.
Я так понял именно по ней мне нужно будет подключать? Не для верии Ghia?
И еще сейчас для есп склеиваю
Пока вот:

А вот для ЭСП

Re: Установка ЭСП и электрозеркал

Добавлено:
16.03.17 16:08
ikenny
Я так понимаю, чтобы запустить эсп мне нужно в стойку добавить только массу и +12 вольт
Для примера возьмем конкретно водительскую дверь и водительский эсп.
Я прошу прощения, я просто впервые имею дело с электрической схемой такого масштаба
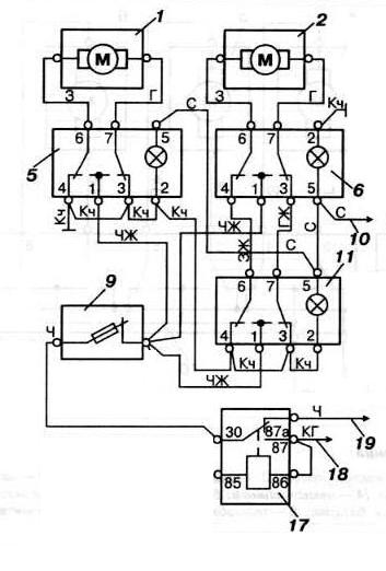
И так, мотор имеет 2 провода, зеленый и синий. Которые идут по схеме в элемент C1622, это что за элемент? Не могу найти его на схеме.
Далее, голубой подключается в 7-ой контакт кнопки, голубой в 6-ой контакт кнопки.
Далее по кнопке, контакт №5-на массу, он же совмешен с контактом №5 второй кнопки на водительской стороне от пассажирского ЭСП.
Далее, контакты кнопки 2,3,4 идут на точку крепления массы S-158(смотрел на ютубе цикл роликов на канале автоэлектрика ВЧ, там ведуший говорил, что S на схемах обочначают точку крепления на массу).Непонятно, только где эта точка.
Контакт кнопки №1 совмещен с контактом №1 второй кнопки на водительской двери от пассажирской ЭСП. На схеме он указан как 54-13 SW-GE, тут не понятное обозначение.
Далее, этот провод уходит в элемент C921 как и провод с точки S-158. В свою очередь C921 соединяется с C920 и насколько я понимаю это соединение дверной косы со стойкой(круглый разъем)
Тут меня запутало следующее:
С921- AT MAIN WIRE
С920-AT DOOR WIRE
Получается, что 921-я это фишка в стойке, а 920 это мама, которая выходит из двери, но почему на схеме от мотора тогда подписана 921-я фишка?
Далее, с фишки С920, по схеме выходит вроде как 2 интересующих меня провода:54-13GE и 31-65BR.
31-65BR уходит к точке S-1015, тут вроде как эта точка уходит в массу, по схеме если смотреть вниз.
54-13GE ушел в точку S-1052, тут я тоже запутался, т.к. считал, что S это точка на массу.
Далее, от точки S-1052 идем влево попадаем в C-1123, это вроде как предохранитель №23. От него провод 15-10 SW и в элемент C-1153, который вроде как зеленая релющка, нога номер 30.
Получается, что недостающий +12В на контакт номер 1 водительской кнопки ЭСП должен идти от реле номер 3, с контакта номер 30 жтой релюхи(они обычно на донышке реле указываются) через предохранитель на 30А?
Масса: контакты водительской кнопки эсп номер 2,3,4 на массу, контакт номер 5 это подсветка кнопок, там вроде как лампочка нарисована.
Это получается все, что нужно для того, чтоб эсп заработал?
Второй момент, обясните пожалуйста С920 и С921 подписаны они по одному, на схеме получается наоборот.
Третий момент, у эсп нет такой штуки как у электролюка, памяти на положение? Я когда ставил электропривод люка, после подключения сперва нажал и держал кнопку в одном направлении, пока мотор не остановился, потом еше раз в туже сторону до упора, потом один раз обратно до остановки. Потом уже руками поставил люк в закрытое положение, снял ручку, накладку и поставил электропривод. С ЭСП нет таких танцев?
Re: Установка ЭСП и электрозеркал

Добавлено:
16.03.17 16:40
Костя Луганск
ikenny пишет:Это вариант CL
Это неверная(урезанная) схема с опечаткой. На ней отсутствует дублирующая кнопка пассажирского ЭСП в водительской двери.
ikenny пишет:Цвета проводов мотора ЭСП, для CL они Зелено-желтый и Голубой-желтый, а для Ghia Зеленый и голубой.
Нет, зеленый и голубой - идёт на моторчик, а зелено-желтый и голубой-желтый идёт от дублирующей кнопки к основной.
Для передних ЭСП, правильнее рассматривать участок схемы, обведённый синим:

- Схема СП 1.JPG (128.18 КБ) Просмотров: 15339
Вот отдельно взятая схема водительской двери:

- эсп пд.JPG (26.41 КБ) Просмотров: 15339
ikenny пишет:меня запутало следующее
Опечаток много, особенно в схемах.
ikenny пишет: чтобы запустить эсп мне нужно в стойку добавить только массу и +12 вольт
Да, я об этом уже писал:
Костя Луганск пишет:Нужно подать на кнопку "+" и "-". Самый простой способ - с ЦЗ, но не самый правильный.
"Масса" в двери общая для всего. Нужен только "+" с реле 3, подсветка (габариты) и ещё выход двух проводов на пассажирскую сторону.
у эсп нет такой штуки как у электролюка, памяти на положение?
Нет, нажал - стекло движется до упора.
Re: Установка ЭСП и электрозеркал

Добавлено:
16.03.17 18:02
ikenny
Ага, т.е. нужно найти на каком контакте у реле номер 3 появляется + при провороте ключа зажигания. Далее, этот провод через предохранитель на 30А нужно дотянуть до кнопки в водительской двери, контакт номер 1. Так же для кнопки в передней пассажирской двери, + к кнопке на контакт номер 1.
Кнопки водительской и пассажирской передних дверей связываются проводами 56-7 и 54-13. В правой части второй схемы провода сине-желтый и зелено-жолтый это на мотор передней пассажирской двери?
Re: Установка ЭСП и электрозеркал

Добавлено:
16.03.17 19:06
Костя Луганск
ikenny пишет: провода сине-желтый и зелено-жолтый это на мотор передней пассажирской двери?
Нет, это на кнопку ЭСП в пассажирской двери:

- эсп лд.JPG (15.42 КБ) Просмотров: 15321
Re: Установка ЭСП и электрозеркал

Добавлено:
16.03.17 21:59
ikenny
А в остальном схему понял верно?
Re: Установка ЭСП и электрозеркал

Добавлено:
18.03.17 19:10
Костя Луганск
ikenny пишет:А в остальном схему понял верно?
ikenny пишет:Кнопки водительской и пассажирской передних дверей связываются проводами 56-7 и 54-13.
Нет, на пассажирскую дверь идут 33-2 и 32-2.
Re: Установка ЭСП и электрозеркал

Добавлено:
18.03.17 19:40
ikenny
В общем так
В стойку добавил с предохранителя 23 провод в пин номер 13-эт плюс, потом подрубил косу донорскую, а уже все работает
Нужно было только плюс в контакт 13 на стойке добавить.
Правда с кнопки есть еще 2 жирных корричневых провода, звонятся на пины номер 1 и 2 в колодке, которая на стойку подключается, у папы в стойке контакты 1 и 2 пустые, думаю а не масса-ли это дополнительная для ЭСП?
P.S.
У меня одного при нажатии на какие-либо кнопки на сайте происходит переход на какие-то левые сайты?
Сулеймана заразили?
Re: Установка ЭСП и электрозеркал

Добавлено:
18.03.17 21:23
Костя Луганск
ikenny пишет:уже все работает
Пассажирская сторона с водительской - работает?
Re: Установка ЭСП и электрозеркал

Добавлено:
19.03.17 21:44
ikenny
Пассажирская сторона с водительской - работает?
Не, пока только водительская, с пассажирской еще "весло" стоит. Не успел пока.
Полностью собрал только водительскую дверь.
Смотрел схему, вроде как 2 провода надо будет тянуть с водительской двери, со второй кнопки на пассажирскую дверь. Ну и добавить в пассажирскую +12 вольт с реле 3 и на подсветку.
Кстати, о подсветке. Я + к подсветке протянул с предохранителя номер 7, на 15А кажется. На одной кнопке подсветка включилась, после того, как все утсановил, включил подсветку, а кнопка больше не светится, вторую подключил, но питание с подсветки(5-ый контакт кнопки) снял пока. По схеме вроде все правильно, с контакта номер 5 с кнопки уходит серый провод в точку S-1058, откуда желто-серый провод, если посмотреть влево, уходит к предохранителю номер 7, там 15А. Не многовато? Может я лампочку сжог в кнопке? Питание на контактах подсветки кнопки есть(между контактами кнопки номер 5 и 2 есть 12В), на той, которая больше не светится, но лампа не горит. Да и 15А как-то многовато по моему...
Re: Установка ЭСП и электрозеркал

Добавлено:
19.03.17 21:58
Сфинкс

предполагаю лексикон следующего владельца, когда он во всем этом колхозе будет разбираться...
Re: Установка ЭСП и электрозеркал

Добавлено:
20.03.17 00:28
ikenny
предполагаю лексикон следующего владельца, когда он во всем этом колхозе будет разбираться...
Почему колхоз-то?
По схеме ведь собираю. Питание эсп получает с реле номер 3, с 30-ой ноги через предохранитель номер 23, на 30А(с 30-ой ноги 3-го реле уходит черный провод в предохранитель номер 23, от него черно-желтый). Эсп запитывается при открытии водительской двери или при включении зажигания, даже доп. провода которые тянул к дверной колодке подобрал по цвету. В "папе" на стойке добавил недостающих игольчатых контактов(у меня проводки под эсп небыло и куплены были сами ножница и дверная коса с дверными картами), чтоб можно было так же легко отклчать/подключать дверной жгут к стойке. Доп проводка не болтается соплями а затянута в жгут и перемотана, пока предварительно, т.к. надо еще вторую дверь делать...
Я что-то не так делаю? Может схему неправильно прочел, обьясни, если не трудно...
Re: Установка ЭСП и электрозеркал

Добавлено:
20.03.17 18:59
Костя Луганск
ikenny пишет:Ну и добавить в пассажирскую +12 вольт с реле 3
Это лишнее. Там нужны только два провода из водительской двери.
ikenny пишет: Может я лампочку сжог в кнопке?
Они, как правило, уже от времени и постоянной вибрации негожие. Впаивай вместо лампочек светодиоды последовательно с сопротивлением 1кОм.

- кнопки.JPG (153.11 КБ) Просмотров: 15247

- кн сд.JPG (131.46 КБ) Просмотров: 15247

- сд эсп.JPG (65.04 КБ) Просмотров: 15247
В таком случае - можно запитать подсветку от "+" питания - собственно, в переходном и лупатом уже так и сделано - подсветка в кнопке светодиодная и запитана от её питания - минус один лишний провод к каждой двери.
Как то заморочился, зарисовал все доступные кнопки:

- P2030006а.JPG (69 КБ) Просмотров: 15247
Re: Установка ЭСП и электрозеркал

Добавлено:
24.05.17 15:35
Аллочка
Как я понимаю у переходного и первого Скорпио разные кнопки ЭСП?
Re: Установка ЭСП и электрозеркал

Добавлено:
24.05.17 15:48
Костя Луганск
Аллочка пишет:у переходного и первого Скорпио разные кнопки ЭСП?
Да, на последнем фото, как раз переходные и лупатые кнопки. Они меньше размером, чем у первого. Если правильно помню(сам не пробовал) от ВАЗа "десятки" подходят.
Re: Установка ЭСП и электрозеркал

Добавлено:
24.05.17 21:56
Аллочка
У меня сейчас стоят от ВАЗа. не красивые, хочу поставить родные с подсветкой. Костя, спасибо!
Re: Установка ЭСП и электрозеркал

Добавлено:
25.05.17 00:06
Костя Луганск
Аллочка пишет: спасибо!
Нема за що) Какое количество кнопок нужно, 3 или 7? Если три - найду. Не обещаю, но попробую что-то придумать с доставкой.
Re: Установка ЭСП и электрозеркал

Добавлено:
25.05.17 06:48
Аллочка
Нужно три. Комплектация как и была.
Re: Установка ЭСП и электрозеркал

Добавлено:
25.05.17 21:56
Костя Луганск
Кнопки нашёл, но они 95GB(от лупатого), у них всего четыре контакта. По идее, должны работать. Теперь ждать варианты с доставкой, это может быть не быстро...

- эсп.JPG (176.33 КБ) Просмотров: 7641
Re: Установка ЭСП и электрозеркал

Добавлено:
25.05.17 22:22
Аллочка
Я и не спешу)
Re: Установка ЭСП и электрозеркал

Добавлено:
22.06.17 09:36
Аллочка
Выручайте, стою возле работы, не могу закрыть пассажирское переднее стекло. На открытие работает, на закрытие нет.
Как быть, что крутить, что ломать.
Провода дергала на контактах, контакты почистила на вилке, кнопку пробовала переставить с водительской и ни какого результата(((
Re: Установка ЭСП и электрозеркал

Добавлено:
22.06.17 13:46
Костя Луганск
Аллочка пишет: кнопку пробовала переставить с водительской и ни какого результата
Если в одну сторону работает - уже хорошо, питание есть. На пассажирском стекле две кнопки - они взаимосвязаны - если в одной контакт пропадёт - вторая тоже может не работать. Сначала одну менять на заведомо исправную, потом вторую.
Re: Установка ЭСП и электрозеркал

Добавлено:
22.06.17 14:55
Аллочка
Костя, спасибо. Все же кнопка((
Re: Установка ЭСП и электрозеркал

Добавлено:
22.11.17 20:10
LLIAXXX
Привет народ, подскажите мне пожалуйста. Скорпик у меня 92 года, купил я его недавно, суть в чем. С пассажирской стороны предыдущий владелец поменял кнопку стеклоподъемника, после этого он перестал работать с вод. стороны, со стороны пассажира все работает.
Re: Установка ЭСП и электрозеркал

Добавлено:
30.03.18 10:35
Сфинкс
тэкс, а моторы ЭСП задних и передних дверей Скорпио МК1 отличаются размерами? а на переходном все эти моторы (для передних и задних ЭСП соответственно) такие же как на МК1? а на жабах? я особо не вникал, но кмк задние скорповые моторы меньше по размеру чем передние, я праф?