Страница 1 из 1
Форсунки

Добавлено:
22.11.10 10:03
greeks
не поступает сигнал на форсунки, впрыска нет. Ваше мнение уважаемые.
Re: Форсунки

Добавлено:
22.11.10 11:11
DENNIS_NSK
А искра есть?
Re: Форсунки

Добавлено:
22.11.10 11:13
greeks
да, искра есть
Re: Форсунки

Добавлено:
22.11.10 12:19
Максим
Либо проводка от мозгов, либо мозги накрылись (как когда-то у меня) больше вариантов то и нету... если коне4но это инжектор...
Re: Форсунки

Добавлено:
22.11.10 12:23
greeks
а может быть это связано с иммобилайзером??
Re: Форсунки

Добавлено:
22.11.10 12:54
Хрофт
greeksможет..
ты бы поконкретнее бы описал что произошло, и что уже пробовал сделать, тогда легче и что то советовать...
тут лаконичность ни фига не сестра таланта.
по телефону трудно лечить

Re: Форсунки

Добавлено:
22.11.10 16:26
greeks
только что забрал от электриков, диагностику провели но исправить не смогли, ссылаются на иммобилайзер, у нас в городе спецов таких мало, но одного порекомендовали, буду в среду с ним смотреть мою жабу. А описать как всё произошло сложно: просто в один прекрасный день отказалась заводится, нет характерного зума первичной подачи топлива. диагносты проводку проверили, вся исправна( в нужных местах).но сигнал на подачу топлива не поступает.
Re: Форсунки

Добавлено:
22.11.10 18:46
viktorradiy
может это тебе поможет..у меня пару дней такое же было....причина таже проверил всё ,нормально...даж мозги менять пробовал...оказалось был перебит какой то провод. шел в общем жгуте который по правому ланжерону .садится на масу...прикрютил его на минус, и машина завелась с пол тточка..

Re: Форсунки

Добавлено:
22.11.10 20:23
greeks
viktorradiy пишет:может это тебе поможет..у меня пару дней такое же было....причина таже проверил всё ,нормально...даж мозги менять пробовал...оказалось был перебит какой то провод. шел в общем жгуте который по правому ланжерону .садится на масу...прикрютил его на минус, и машина завелась с пол тточка..

спасибо, посмотрю, а то уже не знаю куда сунуться
Re: Форсунки

Добавлено:
22.11.10 21:44
Толстый 757
Хочу вас, дружище, огорчить. Двухлитровая жаба с непоступающим на форсунки сигналом - та ещё тема! Смотрите косу по правому лонжерону и форсуночные косы расплетайте и меняйте пригоревшие друг к другу ннннах провода на новые. И молитесь, чтобы это не был попадос на новый моск + его прошивку по ВИНу у официастов.
Re: Форсунки

Добавлено:
22.11.10 23:28
greeks
буду надеяться на более лёгкий диагноз, на неделе уточню и отпишусь чё по чём.
Re: Форсунки

Добавлено:
24.11.10 19:37
greeks
только что снимали коды ошибок с иммобилайзера, ошибка 13. кто знает что это??
Re: Форсунки

Добавлено:
03.02.11 15:03
скорпиончег
Итак, сегодня промывал форсунки свои, как оказалось на мой OHC 2.0 подходят 1в1 с волги BOSH форсунки, так что смело берите. Впервые увидел как они работаю, весьма прикольно

ОДНАКО. Когда прочищенные поставили назад, с новыми бошевскими резиночками, которые на их концы одеваются, завели и я чуть в обморок не упал....приехал на ровненько работающем двигателе, выхлопа не видно, а стало страшно колбасить на холостых и выхлоп такой что весь бокс заволокло. В итоге оказалось что одна из резиночек НОВЫХ

оказалась бракованной и с ней одна форсунка лила за троих, поменяли, и стало все гуд. Так же поменял свечи дензо сразу, и машина, прям чувствую что реально ЕДЕТ!

Re: Форсунки

Добавлено:
03.02.11 15:20
скорпиончег
И не совсем в тему, но в очередной раз удивляюсь чтож это за машина-скорп. До меня, судя по виду форсунок, предыдущие хозяева инжектором не занимались ВООБЩЕ, свечи которые я выкрутил были в таком дерьме что ппц (кстати сфоткаю сегодня, покажу, на одной даже прорыв газов видно было) и он ровненько хорошо работал. Ну да, динамика не совсем удовлетворяла, и немного больше чем надо кушал, но выхлоп был чистейший, на холостых тоже ровненько все работало, почти так же как и сейчас (сейчас слегка ровнее стал работать), после ремонта. ОФИГЕТЬ.
Как сказал мастер ремонтник, который сам бывший скорповод: что для обычной машины смерть, для скорпа небольшая царапинка)))
Re: Форсунки

Добавлено:
03.02.11 15:44
Dronchik
Тут уже сто лет нород ездит с форсами от волги!
Вот только не пойму какое отношение имеет уплотнительное колечко к производительности форсунки?

Re: Форсунки

Добавлено:
03.02.11 15:56
скорпиончег
Ну есть нОрод, который об этом знает, а есть такие как я. К тому же причем тут уплотнительное колечко? Может я не так выразился, я думал это резинка, но пусть будет пластмасска, которая на самом конце форсунки, в которой дырка через которую идет топливо. Вот эта хрень была бракованная.
Re: Форсунки

Добавлено:
03.02.11 16:01
Dronchik
Ты запутал окончательно! А где они нашли такой же пластиковый колпачёк как на оригинальных форсунках взамен бракованной?
на оригинале там не дырка а игла! а на волгашных 4 дырки в этом колпачке из которых льётся бенз!
Re: Форсунки

Добавлено:
03.02.11 16:04
скорпиончег
Хорошо, восстанавливаю хронологию событий. Мастер снял с моих форсунок наконечники, послал за РЕМКОМПЛЕКТОМ BOSH для форсунок чувака, он привез, цвет наконечников был какой-то розовато-хер знает какой,

Поставил их, потом снял бракованную и поставил из закромов своих какую-то другую

Re: Форсунки

Добавлено:
03.02.11 16:11
Dronchik
а зачем он вообще менял эти колпачки?

они что колотые были?
Re: Форсунки

Добавлено:
03.02.11 16:13
скорпиончег
Хз, что было конкретно, я не приглядывался, но выглядели они как будто пожеванные
Re: Форсунки

Добавлено:
15.11.11 09:39
SerJant988
Подскажите пожалуйста, как на донсе определить нумерацию разьемов на форсунки? Я когда форсы менял, не понравилось поведение газового оборудования, поехал к мастеру, он сказал, что я перепутал 3-ю и 4-ю форсунки. Я так и не понял, как такое возможно, ведь двигатель работает норм(на бензине)...
Он бензовые не стал трогать, а перекинул только газовые. Щас мееняю свечи (по причине, очень плохого старта в мороз "-10", сегодня 20 минут гонял :( ) + ДПДЗ ЩАС ОТКЛЮЧЕН (насколько это может влиять на старт?)
Выкрутив свечи, обноружил отклонение от нормы в их цвете, а именно 3-й и 4-й свечи (они имеют красный оттенок)
Ответте плиз(кто точно знает) на вопрос определения нумирации разьемов (фишек) на форсунки и кто, что скажет по плохому старту (исходя из моих данных) ?
ПС Топливный насос новый, форсунки новые(сименс от волги). броне провода новые. Летом заводилась с пол тырка.
Re: Форсунки

Добавлено:
15.11.11 13:45
Paravoz
Кстати по этому поводу тоже вопрос хотел задать, но после того как звонил жгут - выявил то что 3 и 4 форсы работают вместе, и 1 и 2 вместе, но так как машина у мя работала до этого, то решил что так и должно быть, хотя по внешнему виду мой жгут уже перематывали. И если у меня все правильно, то значит фишки на форсы можно и перепутать (соответственно 3ю с 4ой, и 1ю со 2ой) без последствий. Только вот интересно правильно ли у меня

Re: Форсунки

Добавлено:
15.11.11 13:56
SerJant988
Эту мысль я где-то уже слышал, это значит что 3 и 4 форсунка прыскают одновременно??? Это нормально для инжектора? Или я чего-то не понял? Щас поменял 3-ю и 4-ю местами и ничего не изменилось, странно может все так и есть?
Re: Форсунки

Добавлено:
15.11.11 14:25
Paravoz
То что форсунки брызжут парами это видно на схеме, только на схеме не показано какие именно форсунки, и если у тебя ничего не изменилось, то и у меня все правильно, только вот зачем у меня фишки на форсы помечены, думал спецально чтоб не перепутать, а терь понимаю что эт нестрашно
Re: Форсунки

Добавлено:
15.11.11 15:04
SerJant988
И где же пропали все гуру? Может ктонибудь развеет наши сомнения по поводу впрыска? Или они молчат, по той причине, что это всем давно известно?
Re: Форсунки

Добавлено:
16.11.11 14:19
Miha
Если все молчат воспользуйтесь поиском. Или почитайте похожие темы (список внизу). Мозг ЕЕС4 управляет двумя каналами форсунок как в случае с 4х так и 6ти горшков. Вид впрыска папарно - паралельный.
Re: Форсунки

Добавлено:
16.11.11 14:39
SerJant988
Спасибо Miha, но вот или я слеп или ничего не писали про нумирацию или очередности впрыска на форуме

Re: Форсунки

Добавлено:
27.11.11 13:11
jerryko
Там по схеме видно что работают сначала нечётные номера горшков а потом чётные, в моём случае- V6 2.9, 1,3,5 и 2,4,6 одновременно.
Re: Форсунки

Добавлено:
28.11.11 12:26
Paravoz
в том та и дело что на схемах ничего не видно( вот это написано у меня в мануале:"Топливные форсунки получают электрические импульсы: один импульс на один оборот
коленчатого вала. Топливные форсунки двигателя DOHC срабатывают попарно от
импульсов модуля EEC IV и топливо впрыскивается парой форсунок на каждые пол-
оборота коленчатого вала."
На автомобиле же подсоеденены третья и четвертая вместе и первая и вторая вместе. Раньше машина ездила, а теперь раз уж полез копать, так хочеться точно узнать, как у других та подключено. Кто косу перематывал скажите как у вас

или это такая тайна?
Re: Форсунки

Добавлено:
28.11.11 16:08
Miha
Блин да какая тайна. Коса сделана так что по другому не сможешь подключить... То что они попарно ссут - факт.
Re: Форсунки

Добавлено:
28.11.11 20:25
Felix
На K-Jetronic вообще все форсунки постоянно брызжут. И ничего, работает.
Re: Форсунки

Добавлено:
09.12.11 13:14
scorp85
Подскажите в чём может быть причина: промыл форсунки и поменял резиновые уплотнительные кольца на новые Bosch.
Через неделю одна форсунка начала пропускать бензин со стороны входного отверстия в блоке. Менял резинку, менял её местами с другими- всё равно пропускает бензин.
Какие мысли есть?
Re: Форсунки

Добавлено:
16.02.12 14:33
Мatador
0 280 156 207 а такой номер форсы не вкурсе где глянуть, катит или нет...


так выглядит. цениГ сладкий, а вот пойдет ли куда нам...

Re: Форсунки

Добавлено:
16.02.12 21:05
Incredible
http://www.google.ru/url?sa=t&rct=j&q=0%20280%20156%20207&source=web&cd=4&ved=0CDoQFjAD&url=http%3A%2F%2Fwww.usrallyteam.com%2Fcontent%2Fproducts%2Finjector%2FBosch_Injector_data.xls&ei=nkM9T8OcNaSQ4gT0kvmXCA&usg=AFQjCNG5qAoimX9OgR0KdZQ9pWgvQLLdPw&sig2=-v7wrf9JVopzBmk_8_5-vw&cad=rjtOE NR. - 0280156207
Resistance (Ohm) - 14,5
Operating pressure (kPa) - 350
Q-stat (at operating pressure) (g/min) - 115
Q-stat with 300 kPa (g/min) - 106,5
Q-stat with 300 kPa (ml/min) - 152
q-dyn with 300 kPa, ti 2,5 ms (g/1000 Imp.) - 3,24
Spray type - C
"Distance between O-rings - 48,4
Total length - 61
Re: Форсунки

Добавлено:
17.02.12 09:06
Мatador
у нас вроде как должны стоять такие : 0 280 150 219 , если верить этому источнику
http://www.bosch-automotive-catalog.com ... ation=true и сняты они в 2007 году с производства, по магам бьются, но стоят конских денег...
Re: Форсунки

Добавлено:
18.02.12 10:28
Incredible
Мatador пишет:у нас вроде как должны стоять такие : 0 280 150 219

Re: Форсунки

Добавлено:
09.06.12 20:46
iceberg
На свою голову полез в форсунки (защиту было поставить лень, по лужам покатался и начал троить), почистил все контакты и разъемы, на разъемах обнаружил нацарапанные метки (номера цилиндров), т.к. плохо заводится (двигатель крутит по 3-5 сек) решил поменять их местами, но парадокс в том что двигатель работает так же, исходя из написанного в форуме что фокусники работают попарно возник вопрос: почему так? ведь цилиндры 1и4, 2и3 работают синхронно, а тут получается что в 1и2 и 3и4 впрыск одинаковый, никак не могу въехать в этот принцип, хоть раньше с этим не сталкивался но всю жизнь думал что впрыск происходит когда поршень опускается и в момент подъема клапаны закрываются, происходит сжатие и в МТД воспламенении, а тут тогда как?
Re: Форсунки

Добавлено:
09.06.12 21:44
Paravoz
Не заморачивайся))) Судя тока по этой теме у тебя все правильно)) Например у меня также и у Сержанта. Форсы ссут попарно 1 со 2 и 3 с 4, конешно интересно бы вникнуть почему это так, а не иначе, но эт наверно надо идти в гугл или какую-нидь спец литературу.
Re: Форсунки

Добавлено:
09.06.12 23:51
iceberg
все равно в голове не укладывается принцип работы двигателя, по идеи один оборот поршня впуск, второй выпуск, а тут хз как все работает
Re: Форсунки

Добавлено:
09.06.12 23:53
Felix
Не боись, у меня была машина с механическим впрыском K-Jetronic, так там по конструкции вообще все четыре форсунки одновременно льют

.
Re: Форсунки

Добавлено:
10.06.12 00:35
Incredible
Felix пишет: K-Jetronic, так там по конструкции вообще все четыре форсунки одновременно льют
И у нас поидее они должны все 4 одновременно лить, хоть и соединены попарно.
Re: Форсунки

Добавлено:
10.06.12 01:20
Paravoz
Если все 4 одновременно, значит можно их все местами перепутать и не произойдет никаких изменений

вот тока зачем интересно эти фишки кто-то до нас пометил)))?
Теперь представим как происходит процесс впрыска на ДОНСе (возможно на ОНС по другому хотя врятли): За один оборот коленвала посылается соответственно один импульс с ДПКВ на мозг, руководствуясь этим импульсом мозги открывают все 4 форсунки одновременно на определенный промежуток времени. А вот когда посылается команда на открытие форсунок- сразу после импульса с ДПКВ или после какой-то задержи эт нам не известно.
В принципе я даже не представляю как возможно открытие пар форсунок в разное время - датчик положения коленвала ведь один, а обороты КВ непостоянны.

или я всетаки что то упустил
Re: Форсунки

Добавлено:
10.06.12 09:54
Incredible
Paravoz пишет:вот тока зачем интересно эти фишки кто-то до нас пометил)))?
Кто-то думал что они работают поочередно и пометил разъемы, когда их снимал, чтобы потом не перепутать. Я бы тоже так сделал, если бы незнал что все форсунки работают одновременно, и если бы мог разъемы перепутать. С толком человек подошел к работе.
Paravoz пишет:один импульс с ДПКВ на мозг
А что на ДОНСе представляет собой ДПКВ? На ОНС это датчик холла в трамблере, и он ну никак не может определить какой сейчас цилиндр в работе.
Paravoz пишет:В принципе я даже не представляю как возможно открытие пар форсунок в разное время - датчик положения коленвала ведь один,
А поочередно пары форсунок включать тоже неправильно, т.к. порядок работы цилиндров 1-3-4-2, а пары форсунок 1-2 и 3-4, вот если начинаем с 1 цилиндра, то работала пара 1-2, далее 3 цилиндр - 3-4, далее 4 цилиндр - 1-2 (!)

опа, вот и сбились с работы, и цилиндр не заработает, и так можно продолжить и дальше.
Это на фазированном впрыске, где мозги научились определять какой цилиндр сейчас работает, форсунки работают все поочередно, а у нас нет - все вместе, но топливо подается более малыми порциями за один такт впрыска.
Re: Форсунки

Добавлено:
10.06.12 14:29
Paravoz
На ДОНСе ДПКВ посылает импульс на мозг при попадании на один отсутствующий из сегментов на реперном диске расположенном на коленвале, т.е. один раз за оборот

когда разбирал двиг, то не обратил внимание какому положению соответсвует попадание отсутствуещего сигмента на ДПКВ, но как пойду в гараж так проверю, у мя все для этого дела уже снято)))
Re: Форсунки

Добавлено:
10.06.12 15:02
Incredible
Paravoz пишет:т.е. один раз за оборот
А какой из цилиндров в ВМТ он ну никак не может показать. Так?
Re: Форсунки

Добавлено:
10.06.12 15:11
Paravoz
Именно так.
Re: Форсунки

Добавлено:
10.06.12 15:18
Paravoz

Вот нашел фото где видно этот отсутствующий сегмент на реперном диске коленвала
Re: Форсунки

Добавлено:
10.06.12 16:32
Incredible
Именно по этому форсунки могут лить только все одновременно.
Re: Форсунки

Добавлено:
10.06.12 21:40
Мелкий Кот
С реперным диском 36-1 (36 зубцов, 1 отсутствует) возможен попарно-параллельный впрыск.
Сигнал ДПКВ идёт с каждого зубца. Отсутствующий зубец однозначно идентифицирует, какой банк должен лить следующим.
Re: Форсунки

Добавлено:
10.06.12 21:46
psf735
Мелкий кот верно глаголет---нах.тогда с мозга 58 59 ноги задействованы

Re: Форсунки

Добавлено:
10.06.12 22:59
Мелкий Кот
psf735 пишет:нах.тогда с мозга 58 59 ноги задействованы
Унификация блоков, скорее всего.
Re: Форсунки

Добавлено:
10.06.12 23:10
psf735
Унификация под что? DOHC из первых самый умный

Re: Форсунки

Добавлено:
10.06.12 23:30
psf735
Надо повесить на каждую пару по светодиоду--и все станет ясно

Re: Форсунки

Добавлено:
11.06.12 09:40
Incredible
Мелкий Кот пишет:С реперным диском 36-1 (36 зубцов, 1 отсутствует) возможен попарно-параллельный впрыск.
И как она определит с одного зуба во 2-й или в 3-й цилиндр надо лит бензин?
Ещё надо чтобы пары форсунок при работе чередовались. Но ведь они не чередуются, иногда одной паре надо дважды работать а потом другой паре надо дважды сработать, и после они меняются.
Чтобы определить в какой цилиндр нужно лить бензин нужен ещё и датчик фаз, мне кажется.
Под оному лишь датчику положения КВ не определить какая пара форсунок должна сейчас лить.
Re: Форсунки

Добавлено:
11.06.12 12:42
Мелкий Кот
psf735 пишет:Унификация под что? DOHC из первых самый умный
Унификация железа. На OHC используется 58 и 59 нога под форсунки, а там одновременный впрыск. На V6 используется 58 и 59-я нога под правый и левый банк. На американских V8 до SEFI используются 58 и 59 нога под правый и левый банки.
Incredible пишет:И как она определит с одного зуба во 2-й или в 3-й цилиндр надо лит бензин?
Ещё надо чтобы пары форсунок при работе чередовались. Но ведь они не чередуются, иногда одной паре надо дважды работать а потом другой паре надо дважды сработать, и после они меняются.
Соединить форсунки по парам(банкам) 1 и 4, 3 и 2. Один пропущенный зуб говорит, в какой банк лить - в первый или во второй. После него, соответственно, в другой.
Определять, в какой цилиндр лить, не нужно. Нужно определять в какой банк. За один рабочий цикл в каждый цилиндр идёт впрыск топлива 2 раза.
Incredible пишет:Чтобы определить в какой цилиндр нужно лить бензин нужен ещё и датчик фаз, мне кажется.
Чтобы определить, в какой цилиндр - да. Это нужно для последовательного впрыска. Чтобы определить, в какой банк, ДФ не нужен, достаточно ДПКВ.
Incredible пишет:Под оному лишь датчику положения КВ не определить какая пара форсунок должна сейчас лить.
Это ошибочное мнение. Возьмите, например, те же самые жигули, работающие в попарно-параллельном режиме. Там только ДПКВ стоит. Никакого ДФ. Реперный диск используется 60-2.
ЗЫ: Я отвечаю не про DOHC, я отвечаю про возможность попарно-параллельного впрыска при использовании ДПКВ на реперном диске 36-1.
Каким образом реализован впрыск на DOHC - я не уверен. 90%, что одновременный.
Re: Форсунки

Добавлено:
11.06.12 13:06
psf735
Вот что вычитал в тырнете

- 2012-06-11_130301.jpg (79.3 КБ) Просмотров: 18238
Re: Форсунки

Добавлено:
11.06.12 13:18
psf735
Инжектор или впрыск (от английского inject - "впрыск") топлива - система дозированной подачи топлива в цилиндры двигателя. Существует много разновидностей впрыска - механический, моновпрыск, распределенный, непосредственный. Мы будем рассматривать только относительно современные электронные системы распределенной подачи топлива, на основе ЭСУД (электронной системы управления двигателем) рассчитывающей подачу топлива на основе сигналов установленных на двигателе датчиков.

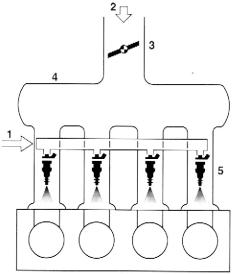
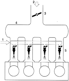
- inject.gif (11.69 КБ) Просмотров: 18237
На рисунке схематично показан принцип многоточечного распределенного впрыска. Подача воздуха (2) регулируется дроссельной заслонкой (3) и перед разделением на 4 потока накапливается в ресивере (4). Ресивер необходим для правильного измерения массового расхода воздуха (т.к измеряется общий массовый расход (MAF) или давление в ресивере (MAP). Последний должен быть достаточного объема для исключения воздушного "голодания" цилиндров при большом потреблении воздуха и сглаживания пульсаций на пуске. Форсунки (5) устанавливаются в канал в непосредственной близости от впускных клапанов
Распределенный или точечный (то есть, когда на каждый цилиндр работает своя форсунка) впрыск топлива делится на три типа:
• Одновременный, когда за один рабочий цикл двигателя (2 оборота коленвала) все 4 форсунки отрабатывают два раза одновременно.
• Попарно-параллельный или групповой, когда за один рабочий цикл двигателя форсунки отрабатывают парами (1-4 и 2-3) по два раза.
• Фазированный или последовательный, когда за один рабочий цикл двигателя каждая форсунка отрабатывает по одному разу в соответствии с фазой впрыска.
Суммарное время впрыска на одновременном и попарно-параллельном способе одинаково, на фазированном - в два раза выше, т.к за 1 цикл одновременного и попарно-параллельного впрыска форсунка включается 2 раза, а на фазированном - 1, поэтому время ее работы увеличено примерно в 2 раза.
Re: Форсунки

Добавлено:
11.06.12 13:40
Paravoz
И ка же интересно конкретно на нашем ДОНСе? Буду закупаться светодиодами и ставить эксперименты.
Re: Форсунки

Добавлено:
11.06.12 13:50
psf735
Да на каждую форсунку по Led и все станет ясно

Re: Форсунки

Добавлено:
11.06.12 14:39
Ted
Чейта я не уверен, что в такой герлянде милисекунды на глаз выловятся... Осциллограф на 58 и 59 ногу + сигнал с датчика коленвала до купы.
Re: Форсунки

Добавлено:
11.06.12 14:43
iceberg
поеду к спецам сегодня заеду, может что они прояснят :)
Re: Форсунки

Добавлено:
11.06.12 20:50
iceberg
толком объяснить никто не мог, но вот что нарыл в нете
http://www.youtube.com/watch?v=wQPh2OdBGgIhttp://www.youtube.com/watch?feature=fvwp&NR=1&v=Hhc6xM0wjKQТоварищи, давайте таки разберемся в этой системе работы, уж больно это мне покоя не дает
Re: Форсунки

Добавлено:
11.06.12 22:59
Incredible
Мелкий Кот пишет:На V6 используется 58 и 59-я нога под правый и левый банк. На американских V8 до SEFI используются 58 и 59 нога под правый и левый банки.
Там наверное поочередно работают цилиндры в левой и правой голове? И установлен аналогичный диск как на ДОНСе, если нет, то как мозги определяют с какого банка начать отсчет?
Мелкий Кот пишет:Соединить форсунки по парам(банкам) 1 и 4, 3 и 2. Один пропущенный зуб говорит, в какой банк лить - в первый или во второй.
А вот это вариант!

Re: Форсунки

Добавлено:
27.08.12 22:36
iceberg
Наконец то нашел ответ на свой вопрос, оказывается без разницы, форсунки льют парами 1-2 и 3-4, так что если поменять разьемы местами 1 и 2 то работа двигателя не изменится, 10 мин втыкал в это видео что бы въехать в работу форсунок
http://www.youtube.com/watch?NR=1&featu ... hc6xM0wjKQ
Re: Форсунки

Добавлено:
27.08.12 23:21
Толстый 757
icebergВот куда фтыкать надо, а не в жужжалге люмениевые
http://www.youtube.com/watch?v=aATDsYVV ... ure=fvwrel
Re: Форсунки

Добавлено:
01.10.13 21:38
dizzyy
какая то загадочная работа у ДОНСов
всегда думал что впрыск форсунки как раз в момент опускания поршня и открытия клапана
а тут впрыск когда клапан закрыт и все идет по стенкам , и только потом захватывается воздухом
нафиг такое
фазный впрыск должен быть полезнее